DX Meubel inboorpaumelle 11 x 80 mm staal vermessingd
Meubel inboorpaumelle 11 x 80 mm staal vermessingd
Lees meer€ 1,55 Per stuk
Op voorraad
Vóór 15:00 besteld, vandaag verzonden.
Op voorraad
- Vóór 15:00 besteld, vandaag verzonden
- 30 dagen recht op retour
- Bestellingen boven de € 99,- Gratis verzonden
- Garantie informatie
Productomschrijving
Meubel inboorpaumelle 11 x 80 mm staal vermessingd
Klassieke houten meubels? Hang de deurtjes dan af met deze vaasknop inboorpaumelles. Deze paumelle past goed bij authentieke deurgrepen of knoppen. Het grote voordeel van een meubelpaumelle is dat het meubeldeurtje gemakkelijk in en uit zijn constructie getild kan worden, ideaal voor bijvoorbeeld onderhoudswerkzaamheden of een verhuizing.
Montage is eenvoudig, omdat zowel boven- als onderkant los van elkaar in het hout te bevestigen zijn. Ook kun je deze paumelle zowel links als rechts gebruiken
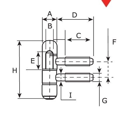
Tekening met de maten zie afbeelding 2
Â
| Maat A | 11 mm |
| Maar B | 8 mm |
| Maat C | 9 mm |
| Maat D | 27 mm |
| Maat E | 12 mm |
| Maat F | 10 mm |
| Maat G | 7 mm |
| Maat H | 80 mm |
| Maat I | 6 mm |
Â
Productspecificaties
DX Meubel inboorpaumelle 11 x 80 mm staal vermessingd


Beoordelingen
Er zijn nog geen beoordelingen