DX Meubel inboorpaumelle 11 x 29 mm staal vernikkeld
Meubel inboorpaumelle 11 x 29 mm staal vernikkeld
Lees meer€ 1,00 Per stuk
Op voorraad
Vóór 15:00 besteld, vandaag verzonden.
Op voorraad
- Vóór 15:00 besteld, vandaag verzonden
- 30 dagen recht op retour
- Bestellingen boven de € 99,- Gratis verzonden
- Garantie informatie
Productomschrijving
Meubel inboorpaumelle 11 x 29 mm staal vernikkeld
Ben je op zoek naar een mini meubelpaumelle geschikt voor het afhangen van meubeldeurtjes? Deze smalle inboorpaumelles zijn voor lichte houten projecten geschikt. Het grote voordeel van een paumelle is dat het meubeldeurtje gemakkelijk in en uit zijn constructie getild kan worden, ideaal voor bijvoorbeeld onderhoudswerkzaamheden of een verhuizing.
Montage is eenvoudig, omdat zowel boven- als onderkant los van elkaar in het hout te bevestigen zijn. Ook kun je deze paumelle zowel links als rechts gebruiken.
Aan de onder -en bovenkant is deze paumelle recht afgewerkt voor een strakke uitstraling.
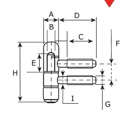
Tekening met de maten zie afbeelding 2
| Maat A | 11 mm |
| Maar B | 8 mm |
| Maat C | 8 mm |
| Maat D | 27 mm |
| Maat E | 12 mm |
| Maat F | 11 mm |
| Maat G | 6 mm |
| Maat H | 29 mm |
| Maat I | 6 mm |
Productspecificaties
DX Meubel inboorpaumelle 11 x 29 mm staal vernikkeld


Beoordelingen
Er zijn nog geen beoordelingen