DX Inboorpaumelle voor houten deuren en metalen montagekozijnen staal vernikkeld
Inboorpaumelle voor houten deuren en metalen montagekozijnen staal vernikkeld
€ 4,75 Per stuk
Op voorraad
Vóór 15:00 besteld, vandaag verzonden.
Op voorraad
- Vóór 15:00 besteld, vandaag verzonden
- 30 dagen recht op retour
- Bestellingen boven de € 99,- Gratis verzonden
- Garantie informatie
Productomschrijving
Inboorpaumelle voor houten deuren en metalen montagekozijnen staal vernikkeld
Deze Inboorpaumelle, ook wel insteekpaumelle genoemd, is geschikt voor het afhangen van opdekdeuren in stalen Theuma Monoplus (voorheen Polynorm) montagekozijnen of ter vervanging van bestaande paumelles.
Een opdekdeur wordt binnenshuis toegepast, bijvoorbeeld als deur naar een slaapkamer, werkkamer, studeerkamer of meterkast. Wanneer u een opdekdeur met deze paumelle bevestigt, garandeert de nylon ring een soepele werking, ideaal voor deuren die vaak geopend en gesloten worden. Bovendien is de paumelle onderhoudsvrij!
Dit scharnier is zowel voor links- als rechtsdraaiende deuren geschikt en monteren is eenvoudig. De onderste helft (het blad) schuift u in de uitsparing. Vervolgens zet u de paumelle vast met een inbussleutel en inbusbout. Het bovenste deel van de paumelle monteert u in de deur, alvorens de deur in het geheel af te hangen. Het grote voordeel van een paumelle is dat de deur na bevestiging gemakkelijk in en uit het kozijn getild kan worden, handig voor bijvoorbeeld schilderwerkzaamheden.
| Soort ring | nylon |
| Soort kozijn | stalen montagekozijnen |
| Toepassing | t.b.v. opdek binnendeuren |
| Draagkracht per stuk: | 20 kg |
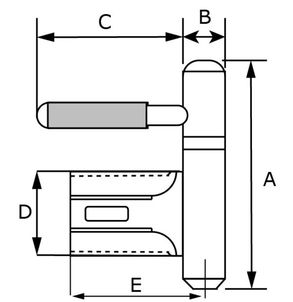
| A (mm) | 78 |
| B (mm) | 14 |
| C (mm) | 50 |
| D (mm) | 32 |
| E (mm) | 45 |
| Zie afbeelding 2 |
Productspecificaties
Reviews
DX Inboorpaumelle voor houten deuren en metalen montagekozijnen staal vernikkeld


De inboorpaumelles passen perfect en is door bijna iedereen te plaatsen .Alles ziet er weer als nieuw uit. En onlinedeurbeslag leverd snel en de prijzen zijn goed.